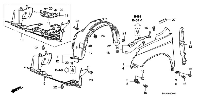
Поиск облицовки переднего бампера на Хонда СРВ в интернет магазинах и на авторазборках Компанеевки
| Название запчасти | Ответы Дата |
3 ответа11/10/2025 | |
ID: 6835121VIN: SHSRD97605U****** | 07/02/2025 |
ID: 6761154VIN: SHSRD88605U****** | 17/09/2024 |
ID: 6753521VIN: SHSRE6890DU****** | 3 ответа04/09/2024 |
ID: 6729931VIN: JHLRE48768C****** | 1 ответ26/07/2024 |
27/02/2024 | |
ID: 6636934 | 26/02/2024 |
ID: 6473369VIN: JHLRD18721C****** | 18/07/2023 |
04/07/2023 | |
08/05/2023 | |
03/04/2023 | |
ID: 6334410VIN: SHSRD88603U****** | 23/01/2023 |
4 ответа12/01/2023 | |
25/06/2022 | |
2 ответа27/01/2022 | |
18/11/2021 | |
ID: 5921696VIN: JHLRE48707C****** | 1 ответ07/11/2021 |
ID: 5911142VIN: 2HKRW6H34KH****** | 1 ответ29/10/2021 |
ID: 5897885VIN: 04816SWAA20****** | 19/10/2021 |
1 ответ15/09/2021 | |
ID: 5757891VIN: JHLRD1740XC****** | 28/06/2021 |
ID: 5700811VIN: JHLRD18501C****** | 1 ответ11/05/2021 |
ID: 5688842VIN: 2HKRM4H79CH****** | 1 ответ29/04/2021 |
ID: 5686061 | 5 ответов27/04/2021 |
ID: 5664200VIN: 5J6RE4H79AL****** | 3 ответа12/04/2021 |